一、医美机构使用电子病历的好处:
随着医美行业的快速发展和相关监管要求的日益严格,医美机构面临着如何高效合规地管理患者病例的巨大挑战。尤其是新规要求医美门诊病例保存不少于15年,这对传统的纸质病历管理方式带来了前所未有的压力。为了应对这一挑战,电子病历(EMR)作为一种现代化的管理工具,成为了解决医美机构合规与效率问题的关键。
1. 提升合规性,减少合规风险
电子病历系统可以自动生成、存档和管理患者病历,确保所有病例数据符合相关法律法规的要求。电子病历不仅具备清晰的时间戳记录,保证患者数据的完整性与准确性,还能够支持数据加密、权限控制等安全措施,避免病历数据丢失或被篡改,从而大幅降低合规风险。尤其是在法规要求下,电子病历能够准确记录病历保存时间,确保15年保存期的合规性。
2. 简化病例管理,提升工作效率
相比纸质病历,电子病历极大地简化了病例管理的流程。医美机构可以通过电子病历系统快速存取患者信息,避免了纸质病历的查找和整理工作。所有病历资料都可以在线查询、更新和共享,大大节省了人工查找、复印及归档的时间,提升了医护人员的工作效率。通过智能化的病例管理,减少了人为操作失误和病例遗漏,降低了管理成本。
3. 优化资源管理,降低运营成本
传统的纸质病历管理需要大量的纸张、存储空间和人工管理,随着机构规模的扩大,运营成本逐渐上升。而电子病历不仅大大降低了物理存储和人工成本,还通过智能化系统进行病例数据分析,为医美机构提供有价值的运营数据。机构可以通过数据分析了解患者需求、诊疗趋势以及业务运营状况,从而更精准地优化资源配置,提高业务决策的科学性和效率,进而实现成本的有效控制和运营的优化。
4. 加强数据共享与协同合作
在多科室合作和跨机构协作的环境中,电子病历能够打破信息孤岛,实现医疗数据的无缝对接。医美机构可以与其他医疗机构共享病历信息,便于多科室医生协同诊疗,提供综合性的医疗服务。同时,电子病历也能够支持患者与医生之间的信息传递,提升沟通效率和服务质量。无论患者是否需要转诊,电子病历都能确保医疗信息的完整性和准确性,避免了医疗信息的丢失和重复诊疗。
5. 便于长期存储与数据备份
传统的纸质病历不仅占用大量存储空间,而且长期保存容易受环境因素影响(如潮湿、虫蛀等),容易导致病例内容模糊或丢失。而电子病历系统则支持云存储和定期备份,不仅确保病历数据的长期存储,而且可以通过分布式存储和冗余备份机制,保证数据的安全性与持久性。无论患者数据保存15年还是更长时间,都可以在系统中进行高效存储和管理,避免了纸质存档带来的诸多问题。
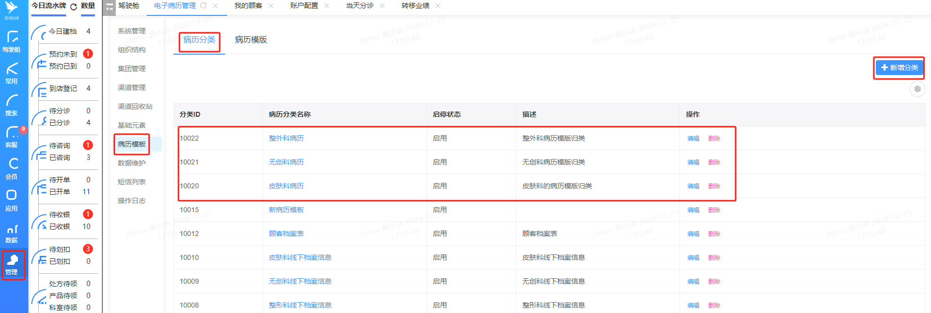
二、病历模版的编辑(操作路径:管理-系统配置-病历模版)
1病历分类编辑
2病历模版列表

3点击编辑病历模版:

三、给顾客写病历(操作路径:搜索某个顾客-病历管理)
1顾客已写病历列表
2点击编辑顾客已有病历或新增病历:
3顾客已写病历对未签字的病历可以发起补签字。

四、电子签分两种
第1种:对接签字板或APID平板签字。(作用是有电子签约记录凭证,没有有效的法律效力)
第2种:对接第三方电子签通过短信发送让医生跟顾客签约授权。(有法律效力)
机构选2种对接第三方电子签,需要联系企雀运营老师协助开通才可以应用。
打开微信“扫一扫”转发给朋友
打开微信“扫一扫”在小程序中打开
账号登录


